目次に戻る

|
昭和10年(1935)に
大阪変圧器株式会社から発売された
”超小型”受信機
オランダ製の帆船を配した高級木製ケースは
日本楽器製
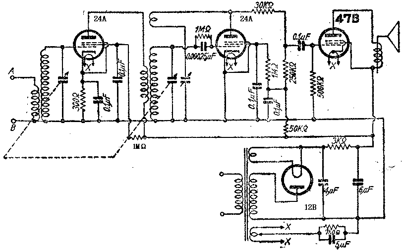
(S447型)
高一4球受信機
|
|
RF : 24B (58)
detector : 24B (57)
P.Amp : 47B (3YP1)
Rect : 12B (80BK)
( )内は写真の代用球 * オリジナルの球は 大切に保管して いつも聞くときには 代用球を使っています * |
|
電源トランスの銘板
|
![]() |
シャーシーの銘板
|
