|
| | | | |
********************************************** |
|
| | | |
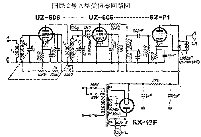
国民2号A型
本体を見る
*
 |
********************************************** |
|
| | | | |
********************************************** |
|
| | | | |
********************************************** |
|
| | | | |
********************************************** |
国民型4号A型 受信機回路図
 |
| | | | |
********************************************** |
国民型4号B型 受信機回路図
 |
| | | | |
********************************************** |
国民型5号型 受信機回路図
 |
| | | | |
********************************************** |
国民型6号型 受信機回路図
 |
| | | |
国民6号型
ラジオ受信機
本体を見る
*
下の図をクリック
して下さい
 |